产品搜索
结构搜索
全站搜索
当前位置: 技术支持
热导检测器
热导检测器(TCD)是利用被测组分和载气的热导系数不同而响应的浓度型检测器,有的亦称热丝检测器(HWD)或热导计、卡他计(katherometer或Catherometer),它是知名的整体性能检测器,属物理常数检测方法。
一、工作原理
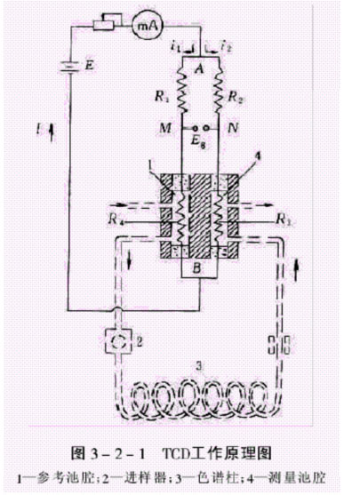
TCD由热导池及其检测电路组成。图3-2-1下部为TCD与进样器及色谱柱的连接示意图,上部为惠斯顿电桥检测电路图。载气流经参考池腔、进样器、色谱柱,从测量池腔排出。
R1、R2为固定电阻;R3、R4分别为测量臂和参考臂热丝。
.jpg)
当调节载气流速、桥电流及TCD温度至一定值后,TCD处于工作状态。从电源E流出之电流I 在A 点分成二路i1、i2 至B 点汇合,而后回到电源。这时,两个热丝均处于被加热状态,维持一定的丝温Tf,池体处于一定的池温Tw。一般要求Tf与Tw差应大于100℃以上,以保证热丝向池壁传导热量。当只有载气通过测量臂和参考臂时,由于二臂气体组成相同,从热丝向池壁传导的热量相等,故热丝温度保持恒定;热丝的阻值是温度的函数,
温度不变,阻值亦不变;这时电桥处于平衡状态:R1•R3=R2•R4,
或写成R1/R4=R2/R3。M、N二点电位相等,电位差为零,无信号输出。当从2进样,经柱分离,从柱后流出之组分进入测量臂时,由于这时的气体是载气和组分的混合物,其热导系数不同于纯载气,从热丝向池壁传导的热量也就不同,从而引起两臂热丝温度不同,进而使两臂热丝阻值不同,电桥平衡破坏。M、N二点电位不等,即有电位差,输出信号。
TCD和FID的区别
TCD比较通用对几乎所有的组分都有响应,但是灵敏度差一些,载气一般用氢气或较贵的氦气。一种气体就够了。
FID对有机物比较适用,灵敏度高且线性范围广,载气一般用氮气。还另外加氢气和空气。
FID检测碳氢化合物。TCD可以检测永久性气体和水,以及部分在FID上无响应的物质;当然很多在FID上能检测的物质也可以用TCD来检测,但检测这类物质时的灵敏度不如FID。
TCD对付无机;FID对付有机;
TCD通用型检测器,灵敏度略差,几乎可以检测所有物质;
FID只对C、H有响应,灵敏度高,线性范围宽,是破坏性的检测器。氢焰检测器(FID:hydrogen flame ionization detector)
火焰离子化检测器对电离势低于H2的有机物产生响应,而对无机物、久性气体和水基本上无响应,所以火焰离子化检测器只能分析有机物,不适于分析惰性气体、空气、水、CO、CO2、CS2
、NO、SO2及H2S等。比热导检测器的灵敏度高出近3个数量级,检测下限达10-12g·g-1。以前用FID打过精油的色谱,效
果不错。